Accumulation Model of Petroleum in the Tertiary System of the Northwestern Qaidam Basin
-
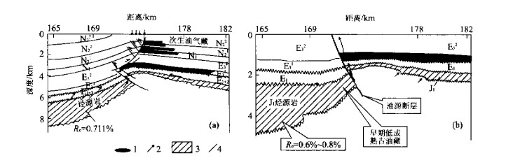
摘要: 柴达木盆地北缘西段是一个以中下侏罗统煤系地层为烃源岩的含油气系统, 产油气层位主要是第三系.逆断层及相关褶皱组合构成柴北缘油气藏的主要圈闭类型.渐新世晚期(E32) 与上新世末到第四纪(N23—Q) 是柴北缘构造变形和圈闭形成的重要时期, 第三系油气成藏也主要发生在这2个关键时期.油藏原油组成和石油包裹体成分分析结果证明第三系油气藏存在不同期次的油气充注历史.下第三系的油气藏存在2期油气充注, 渐新世断层活动破坏侏罗系古油藏并连通侏罗系烃源岩, 导致古油藏中的低成熟石油和侏罗系烃源岩新生的成熟油气沿断层运移到下第三系圈闭中, 构成第1期油气充注; 上新世末到第四纪(N23—Q) 期间, 继续活动的断层导致侏罗系烃源岩高成熟油气沿断层运移到下第三系圈闭中, 形成第2期油气充注.上第三系油气藏主要为一期充注, 即在上新世末到第四纪(N23—Q) 新生断层破坏下第三系油气藏, 部分油气沿断层充注到上第三系合适的圈闭中形成次生油气藏.在柴北缘第三系油气藏形成过程中, 断层起到了重要的控制作用.Abstract: The northwestern Qaidam basin is a Jurassic-Tertiary petroleum system. Thrust faults and anticlines are related with faults form main types of traps of the area. The E32 and N23-Q are the two key elements for the formation of the traps and for the migration and accumulation of petroleum. The composition of petroleum in the reservoirs and in the inclusions indicates that the reservoirs of the Eocene and Neocene underwent different times and stages of petroleum filling. The reservoir of Eocene underwent two stages of petroleum filling: in the end of Eocene, the low-mature petroleum was formed at the end of Jurassic period and entrapped in the Jurassic reservoirs and the mature petroleum formed at the end of Eocene epoch migrated up through the faults and was mixed in the Eocene reservoirs. During N23-Q, newly formed high-mature petroleum migrated up once more through the reliving faults and was mixed with the petroleum in the Eocene reservoirs. While the reservoirs of the Neocene mainly underwent one stage of petroleum filling. During N23-Q, petroleum in the Eocene reservoirs was pumped up through faults, with some petroleum entrapped secondly in the Neocene reservoirs and some petroleum escaped to the surface. It is concluded that the faults played a very important role in the migration and accumulation of petroleum in the Tertiary system of the northwestern Qaidam basin.
-
-
[1] 穆剑, 汪立群. 论柴达木盆地冷湖-南八仙构造带的含油气远景[J]. 石油学报, 1999, 20 (2): 18-22. doi: 10.3321/j.issn:0253-2697.1999.02.002MU J, WANG L Q. Petroliferous prospect of Lenghu-Nanbaxi- an structure belt in Qaidam basin[J]. Acta Petrolei Sinica, 1999, 20(2): 18-22. doi: 10.3321/j.issn:0253-2697.1999.02.002 [2] 狄恒恕, 王松贵. 柴达木盆地北缘中、新生代构造演化探讨[J]. 地球科学———中国地质大学学报, 1991, 16 (5): 533-539. https://www.cnki.com.cn/Article/CJFDTOTAL-DQKX199105007.htmDI H S, WANG S G. Study of the evolution of the Mesozosic and Cenozoic structures in the northeast margin of Chaidam basin[J]. Earth Science—Journal of China University of Geosciences, 1991, 16 (5): 533-539. https://www.cnki.com.cn/Article/CJFDTOTAL-DQKX199105007.htm [3] 曹运江, 陆廷清, 徐望国. 柴达木盆地北缘地区逆冲推覆构造及其油气勘探意义[J]. 湘潭矿业学院学报, 2000, 15 (2): 12-17. doi: 10.3969/j.issn.1672-9102.2000.02.003CAO Y J, LU T Q, XU W G. Overthrust and its significance of oil-gas exploration in the northern margin region of Qaidam basin[J]. Xiangtan Min Inst, 2000, 15 (2): 12-17. doi: 10.3969/j.issn.1672-9102.2000.02.003 [4] 车自成, 刘量, 刘洪福, 等. 阿尔金断裂系的组成及与相关中新生代含油气盆地的成因特征[J]. 中国区域地质, 1998, 17 (4): 377-384.CHE Z C, LIU L, LIU H F, et al. Constituents of the Altum fault systems and genetic characteristics of related Meso-Cenozoic petroleum bearing basin[J]. Regional Geology of China, 1998, 17 (4): 377-384. [5] 龚再升, 杨甲明, 郝芳, 等. 莺歌海盆地与琼东南盆地成藏条件的比较及天然气勘探方向[J]. 地球科学———中国地质大学学报, 2001, 26 (3): 286-290. https://www.cnki.com.cn/Article/CJFDTOTAL-DQKX200103010.htmGONG Z S, YANG J M, HAO F, et al. Difference in natural gas accumulation conditions between Yinggehai and Qiongdongnan basins and its implications for natural gas exploration[J]. Earth Science— Journal of China University of Geosciences, 2001, 26 (3): 286-290. https://www.cnki.com.cn/Article/CJFDTOTAL-DQKX200103010.htm [6] 高先志, 陈发景. 应用包裹体确定油气成藏期次———以柴达木盆地南八仙油田第三系储层为例[J]. 地学前缘, 2000, 7 (4): 548-554. doi: 10.3321/j.issn:1005-2321.2000.04.024GAO X Z, CHEN F J. Application of fluid inclusions to determination of the times and stages of hydrocarbon reservoirfilling: a case study of Nanbaxian oilfield in the Qaidam basin[J]. Earth Science Frontiers, 2000, 7 (4): 548-554. doi: 10.3321/j.issn:1005-2321.2000.04.024 [7] 郑有业, 李晓菊, 马丽娟, 等. 有机包裹体在生油盆地中的应用[J]. 地学前缘, 1998, 5 (2): 325-331. doi: 10.3321/j.issn:1005-2321.1998.02.018ZHENG Y Y, LI X J, MA L J, et al. Application status of organic inclusion in the research on oil generating basin[J]. Earth Science Frontiers, 1998, 5 (2): 325-331. doi: 10.3321/j.issn:1005-2321.1998.02.018 [8] 覃建雄, 张长俊, 李天生, 等. 西昌盆地流体包裹体及其在油气勘探中的应用[J]. 石油与天然气地质, 1994, 15 (3): 216-225. https://www.cnki.com.cn/Article/CJFDTOTAL-SYYT403.004.htmQIN J X, ZHANG C J, LI T S, et al. Fluid inclusion in Xichang basin and its application to hydrocarbon exploration[J]. Oil&Gas Geology, 1994, 15 (3): 216-225. https://www.cnki.com.cn/Article/CJFDTOTAL-SYYT403.004.htm [9] Karlsen D A, Nedkvitne T, Larter S R, et al. Hydrocarbon composition of authigenic inclusions: application to elucidation of petroleum reservoir filling history[J]. Geochim Cosmochim Acta, 1993, 57: 3641-3659. doi: 10.1016/0016-7037(93)90146-N -




下载: