Finite Element Calculation Method of 3D Electromagnetic Field under Complex Condition
-
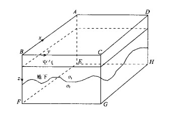
摘要: 从电磁场的Maxwell方程出发, 根据电磁场的边值问题及变分公式建立了有限元方程组.采用可以模拟较为复杂的空间地质构造和地形起伏的四面体单元离散计算区域; 单元中的插值函数选择了精度较高的十点双二次多项式; 并采用连续的双二次多项式插值函数来模拟计算区域内单元中电导率σ的空间变化.推导出了地下变电导率σ条件下计算三维电磁场的有限元单元方程的解析表达式; 采用伽辽金方法推导出了散度效正有限元方程组.根据所推导的公式, 编制了三维有限元的计算程序.数值计算结果表明, 上述公式推导正确, 为三维电磁场的数值计算提供了一条有效的新途径.Abstract: Based on the Maxwell's equations of electromagnetic field, this paper introduces equations of the finite element method for the boundary problem of the electromagnetic field and variation formula. In numerical calculation, the rectangular body elements fitted to simulate complex geology structure and topography relief were selected for discontinuity calculating areas. Ten points double secondary order interpolating functions were used in the finite element calculation and in the simulating calculation of the spatial variation of conductivity.The analytic expressions of the equations of finite elements of rectangular body elements for calculating three dimensions electromagnetic field in the spatial variation of conductivity were first deduced and the correction of the divergence equations of finite elements were deduced by the Galerkin method. The results of numerical calculation show that the deduced formulas are correct and a new way for three dimension electromagnetic field numerical calculation is proposed.
-
Key words:
- D electromagnetic field /
- finite element /
- conductivity
-
表 1 模型垂向划分厚度
Table 1. Vertical thickness of models
表 2 100 Hz模型在中间一条剖面上的ρxy
Table 2. Values of ρxy at the middle profile under the frequency of 100 Hz
-
[1] 金建铭. 电磁场有限元方法[M]. 西安: 西安电子科技大学出版社, 1998.JIN J M. Finite elementmethod of electromagnetic field[M]. Xi'an: Xi'an Electronic University Press, 1998. [2] 倪光正, 钱秀英. 电磁场数值计算[M]. 北京: 高等教育出版社, 1995.NI G Z, QIAN X Y. Numerical calculation of the electromagnetic field[M]. Beijing: Press of Higher Education, 1995. [3] 徐世浙. 地球物理中的有限单元法[M]. 北京: 科学出版社, 1994.XU S Z. Finite element method of geophysics[M]. Beijing: Science Press, 1994. [4] Coggon J H. Electromagnetic and electric modeling by the finite element method[J]. Geophysics, 1971, 36: 132-155. -




下载: