ASYMMETRIC AND CONJUGATE LOW-ANGLE SHEAR FRACTURE SYSTEM IN THREE GORGES DAM REGION, CHINA
-
摘要: 在岩石摩擦流变学理论指导下, 运用构造解析方法, 在三峡坝区岩体内多期的、复杂的破裂系统中, 识别出一个不对称的共轭低缓角度剪破裂系统.几何学和运动学标志证明, 这个影响大坝深层和浅层抗滑稳定性的共轭剪切破裂系统形成较早, 受岩体非均一性制约, 被后期破裂系统切错和改造, 是高流体压力控制下非对称共轴变形的结果.Abstract: An asymmetric and conjugate low-angle shear fracture system is identified in the multi-phase complex fracture systems within the rock mass of the Three Gorges dam region, with the help of the rock frictional rheology theory and the structural analytical method. The geometry and kinetic indicators show that this conjugate shear fracture system affected by the sliding-resistance stability in the deep and shallow layers of the dam occurred at a relatively early age, and then was sheared and modified by the fracture systems in the later period, constrained by the heterogeneity of the rock mass. In this sense, this conjugate shear fracture system is a product of the asymmetrical coaxial deformation restrained by the high fluid pressure.
-
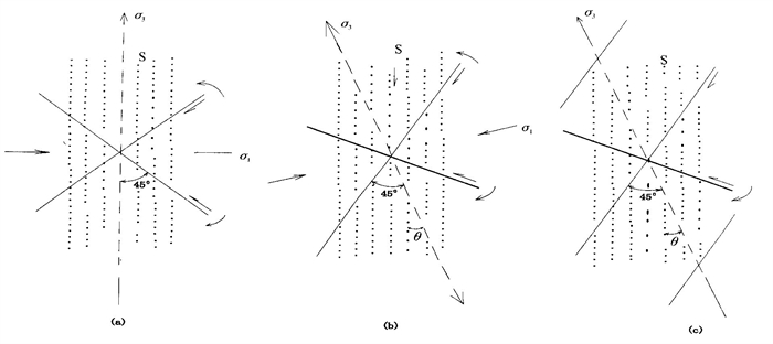
图 3 共轭低缓角度剪切破裂系统形成时的主应力轴赤平投影图解
a.左厂房坝段, 30次测量, 等值线为百分之一面积内3.0%~10.0%~17.0%~23.0%, 求出σ1为NW289°∠14°, σ2为SW198°∠4°, σ3为NE61°∠86°; 实测σ2方位为SE170°∠11°, SW197°∠14°, SW220°∠9°和SW189°∠6°; b.综合图解: ▲.永久船闸六闸首; ●.左非97 m平台; ○.左非90 m平台; □.同a
Fig. 3. Stereograms showing orientations of the principal stresses during the formation of the conjugate shear fracture system
图 9 挤压逆冲断层、伸展正断层和走滑体制形成的破裂网络发育的流体压力条件(据Sibson[4]简化)
Fig. 9. Fluid pressure conditions for activation of fault-fracture meshes in compressional thrust-fault, extensional normal-fault, and strike-slip regime
-
[1] 陈德基, 薛果夫, 徐福兴, 等. 三峡工程地质研究[M]. 武汉: 湖北科学技术出版社, 1997. [2] Ranalli G. Rheology of the lithosphere in space and time [A]. In: Burg J P, Ford M, eds. Orogeny through time [C]. London: Geological Society Special Publication, 1997. 19~37. [3] Platt J P, Vissers R L M. Extensional structures in anisotropic rocks[J]. J Struct Geol, 1980, 2(4): 397~410. doi: 10.1016/0191-8141(80)90002-4 [4] Sibson R H. Structural permeability of fluid-driven fault-fracture meshes[J]. J Struct Geol, 1996, 18(8): 1031~1042. doi: 10.1016/0191-8141(96)00032-6 [5] Hill D P. A model for earthquake swarms[J]. J Geophys Res, 1977, 82: 347~352. [6] Marshak S, Mitra G. Basic methods of structural geology [M]. Englewood Cliffs: Prentice Hall, 1988. [7] Sibson R H. Earthquake rupturing as a mineralizing agent in hydrothermal systems[J]. Geology, 1987, 15(8): 404~701. [8] Byerlee J D. Friction of rocks[J]. Pure and Applied Geophysics, 1978, 116: 615~626. doi: 10.1007/BF00876528 [9] Brace W, Kohlstedt. Limits on lithospheric stress imposed by laboratory experiment[J]. J Geophys Res, 1980, 85: 6248~6252. doi: 10.1029/JB085iB11p06248 [10] Cobbold P R, Cosgrove J W, Summers J M. The development of internal structuresin deformed anisotropic rocks [J]. Tectonophysics, 1971, 276: 23~53. [11] 冯定犹, 李志昌, 张自超. 黄陵花岗岩类岩基南部岩体侵入时代和同位素特征[J]. 湖北地质, 1991, (2): 1~12. https://www.cnki.com.cn/Article/CJFDTOTAL-HBDK199102000.htm [12] Sibson R H. Frictional constraints on thrust, wrench and normal faults[J]. Nature Phys Sci, 1974, 249: 542~543. doi: 10.1038/249542a0 [13] Lin A. S-C cataclasite in granitic rock[J]. Tectonophysics, 1999, 304: 257~273. doi: 10.1016/S0040-1951(99)00026-8 [14] Kohlstedt D L, Evans B, Mackwell S J. Strength of the lithosphere: constraints imposed by laboratory experiments[J]. J Geophy Res, 1995, 100: 17587~17602. doi: 10.1029/95JB01460 -




下载: