VECTOR CUT PRINCIPLE AND METHOD FOR 3-D TECTONIC-STRATIGRAPHIC BASIN FRAMEWORK
-
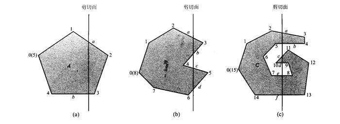
摘要: 三维矢量剪切功能的强弱, 是衡量所建立的盆地三维数字体质量的重要标志.在阐述了基于B-Rep模型的盆地三维数字体矢量剪切原理之后, 探讨了在计算机上实现矢量剪切的技术途径与方法.以线条、填充多边形、曲面和注释4种图元的剪切为基础, 建立了一个较为完善的盆地三维数字构造-地层体的矢量剪切模型, 并且编制了相应的软件.使用这一技术方法和软件系统, 对珠三凹陷进行了实际的矢量剪切分析, 取得了良好的效果.Abstract: The intensity of 3-D vector cut is an important indicator for the quality test of a 3-D digital basin model established. After the reiteration of vector cut principle of the B-Rep model-based 3-D digital basin, this paper deals with the technical approaches and methods for the actualization of the vector shearing function on a microcomputer. On the basis of vector shearing of four graphical primitives: line, polygon, surface and text, the author established a relatively perfect vector cut model for 3-D digital tectonic-stratigraphic basin, and, furthermore, wrote the corresponding software. The vector cut analysis of the Zhusan depression by means of this technical approach and software system has brought about an expected result.
-
Key words:
- 3-D basin modeling /
- tectonic-stratigraphic framework /
- 3-D digital basin /
- vector cut /
- B-Rep model
-
-
[1] 吴冲龙, 张洪年, 周江羽. 盆地模拟的系统观与方法论[J]. 地球科学——中国地质大学学报, 1993, 18(6): 741~747. https://www.cnki.com.cn/Article/CJFDTOTAL-DQKX199306009.htm [2] 吴冲龙. 计算机技术与地矿工作信息化[J]. 地学前缘, 1998, 5(1~2): 343~354. https://www.cnki.com.cn/Article/CJFDTOTAL-DXQY802.030.htm [3] 李清泉, 李德仁. 三维地理信息系统中的数据结构[J]. 武汉测绘科技大学学报, 1996, 21(2): 128~133. https://www.cnki.com.cn/Article/CJFDTOTAL-WHCH199602005.htm [4] 孙家广, 杨长贵. 计算机图形学[M]. 第二版. 北京: 清华大学出版社, 1995. -




下载: